PC



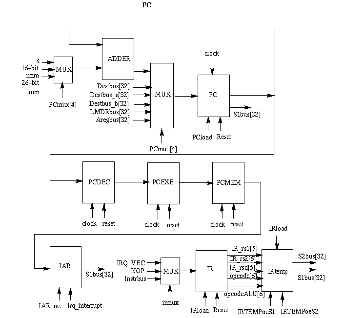
PC block contains the logic to generate the value of the program counter. It also has some interrupt logic and instruction register with the associated logic. PC talks with the instruction memory through Iaddrbus and Instrbus. The new value of PC is chosen between Destbus, Destbus_a, Destbus_b, Aregbus and some increment of the earlier value of PC. The value of PC is passed through 3 registers where each register corrsponds to DECODE, EXE and MEM stages respectively. The PC value in the MEM stage is fed to the IAR.